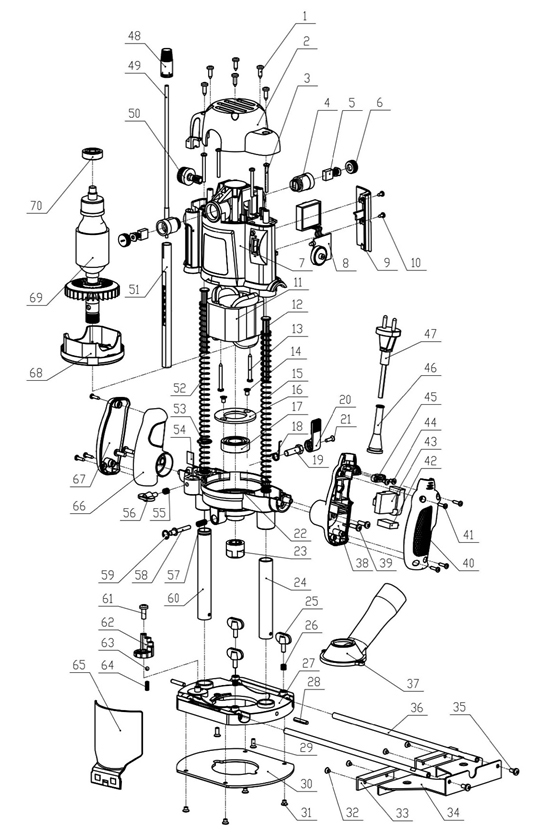
Деталировка (взрыв-схема) фрезер вертикальный Edon PR-12/1900 - поколение 2107101
| Поз. | Vin 码 | 名称 | 配件名(英文) | Наименование | Артикул | Примечание |
|---|---|---|---|---|---|---|
| 1 | 2107101 | B type self-tapping screws | Винт | |||
| 2 | 2107101 | 后罩 | rear cowl | Крышка корпуса | 80011103015 | |
| 3 | 2107101 | Screw for cross machine | Винт | |||
| 4 | 2107101 | 刷握 | brush holder | Щёткодержатель | 80011103016 | |
| 5 | 2107101 | 装机碳刷 | Installed carbon brush | Щётки | 80011103004 | |
| 6 | 2107101 | 刷握盖 | Brush grip cover | Крышка щёткодержателя | 80011103018 | |
| 7 | 2107101 | 机壳 | casing of the machine | Корпус двигателя | 80011103019 | |
| 8 | 2107101 | 调速器 | speed controller | Регулятор оборотов | 80011103020 | |
| 9 | 2107101 | 接线盖 | Wiring cover | Заглушка | 80011103021 | |
| 10 | 2107101 | Self-tapping screw with pointed head | Винт | |||
| 11 | 2107101 | 定子 | stator | Статор | 80011103002 | |
| 12 | 2107101 | 压簧杆 | compressor arm | Шток | 80011103023 | |
| 13 | 2107101 | Self-tapping screw with pointed head | Направляющая | |||
| 14 | 2107101 | Flat base screw | Винт | |||
| 15 | 2107101 | 短导柱弹簧 | Short guide post spring | Пружина | 80011103024 | |
| 16 | 2107101 | 轴承压盖 | Bearing gland | Проставка подшипника | 80011103025 | |
| 17 | 2107101 | 轴承 | Bearing | Подшипник | 80011103026 | |
| 18 | 2107101 | 锁紧扳手扭簧 | Lock wrench torsion spring | Пружина | 80011103027 | |
| 19 | 2107101 | Locking screw | Палец | |||
| 20 | 2107101 | 锁紧扳手 | Locking wrench | Рычаг | 80011103028 | |
| 21 | 2107101 | Machine screw | Винт | |||
| 22 | 2107101 | 头壳 | Head shell | Основания двигателя | 80011103029 | |
| 23 | 2107101 | 螺头 | Screw head | Гайка | 80011103030 | |
| 24 | 2107101 | 短导柱 | Short guide post | Трубка защитная правая | 80011103031 | |
| 25 | 2107101 | Butterfly screw | Винт барашек | |||
| 26 | 2107101 | 圆盘小弹簧 | Small disc spring | Пружина | 80011103032 | |
| 27 | 2107101 | 圆盘 | Disc | Площадка опорная | 80011103033 | |
| 28 | 2107101 | 弹性销 | Elastic pin | Палец | 80011103034 | |
| 29 | 2107101 | Large head flat base screw | Винт | |||
| 30 | 2107101 | 塑料底板 | Plastic base plate | Пластина | 80011103035 | |
| 31 | 2107101 | Flat base screw | Винт | |||
| 32 | 2107101 | Flat base screw | Винт | |||
| 33 | 2107101 | 靠模架垫块 | Mold support block | Планка опорная | 80011103036 | |
| 34 | 2107101 | 靠模架 | Formwork support | Блок опорный | 80011103037 | |
| 35 | 2107101 | Machine screw | Винт | |||
| 36 | 2107101 | 导杆 | Guide rod(Light rod) | Шток | 80011103038 | |
| 37 | 2107101 | 透明出尘罩 | Transparent dust cover | Пылеотвод | 80011103039 | |
| 38 | 2107101 | 右手柄 | Right Handle | Правая часть ручки | 80011103040 | |
| 39 | 2107101 | Machine screw | Винт | |||
| 40 | 2107101 | 右手柄盖 | Right Handle Cover | Ответная часть ручки | 80011103041 | |
| 41 | 2107101 | B type self-tapping screws | Винт | |||
| 42 | 2107101 | 电容0.33UF | Capacitance | Конденсатор 0,33 UF | 80011103042 | |
| 43 | 2107101 | 开关 | Switch | Выключатель | 80011103003 | |
| 44 | 2107101 | Pointed self-tapping screw | Винт | |||
| 45 | 2107101 | 压线板 | Line pressing board | Прижимная пластина | 80011103044 | |
| 46 | 2107101 | 护套 | Sheath | Бандаж кабеля | 80011103045 | |
| 47 | 2107101 | 电缆线/插头 | Cable/plug | Кабель с вилкой | 80011103046 | |
| 48 | 2107101 | 标尺刻度套 | Ruler scale sleeve | Втулка | 80011103047 | |
| 49 | 2107101 | Ruler Screw | Шток регулировочный | |||
| 50 | 2107101 | 标尺杆调节手轮 | Ruler lever adjustment handwheel | Прижимной винт штока | 80011103048 | |
| 51 | 2107101 | 标尺杆 | Ruler bar | Трубка штока | 80011103049 | |
| 52 | 2107101 | 长导柱弹簧 | Long guide post spring | Пружина | 80011103050 | |
| 53 | 2107101 | 导柱卡簧 | Guide pillar snap spring | Шайба пружины | 80011103051 | |
| 54 | 2107101 | 标尺杆锁紧垫片 | Ruler rod locking gasket | Пластина стопорная | 80011103052 | |
| 55 | 2107101 | 圆盘小弹簧 | Small disc spring | Пружина | 80011103053 | |
| 56 | 2107101 | Butterfly screw | Винт барашек | |||
| 57 | 2107101 | 自锁弹簧 | Self-locking spring | Пружина | 80011103054 | |
| 58 | 2107101 | 自锁销 | Self-locking pin | Палец | 80011103055 | |
| 59 | 2107101 | 轴用挡圈 | Shaft retaining ring (outer card) | Кольцо стопорное | 80011103056 | |
| 60 | 2107101 | 长导柱 | Long guide post | Трубка защитная левая | 80011103057 | |
| 61 | 2107101 | Machine screw | Винт | |||
| 62 | 2107101 | 靠山 | Iron hill | Блок регулировочный | 80011103058 | |
| 63 | 2107101 | 钢球 | Steel ball | Шарик стальной | 80011103059 | |
| 64 | 2107101 | 靠山弹簧 | Hill spring | Пружина | 80011103060 | |
| 65 | 2107101 | 透明罩 | Transparent cover | Стекло защитное | 80011103061 | |
| 66 | 2107101 | 左手柄 | Left Handle | Левая часть ручки | 80011103062 | |
| 67 | 2107101 | 左手柄盖 | Left Handle Cover | Ответная часть ручки | 80011103063 | |
| 68 | 2107101 | 挡风圈 | Windshield Ring | Кольцо воздухонаправляющее | 80011103064 | |
| 69 | 2107101 | 转子 | rotor | Ротор | 80011103001 | |
| 70 | 2107101 | 轴承 | Bearing | Подшипник | 80011103066 |

